
Die mir vorliegende Bedienungsanleitung (v 1.2) lässt einen hinsichtlich der Einstellung der Steuerung nicht ganz im Regen stehen, doch ist sie gerade für eine Einsteiger-Echtdampflok nicht unbedingt ausgeprägt ausführlich (oder habe ich es überlesen?). Deshalb zunächst, auch wenn es hier sicher schon irgendwo steht, zunächst ein wenig Theorie warum und wie die Dampflok mit dem Dampf arbeitet. Hier dringt man dann auch direkt tief vor in die Materie und nicht zuletzt die Faszination für die Dampflok: Alles an ihr ist mechanisch gelöst. So auch natürlich die Dampfzufuhr und Verteilung im Dampfzylinder. Darum geht es bei der Einstellung der Steuerung.
Die Bedeutung der Kurbel / Gegenkurbel
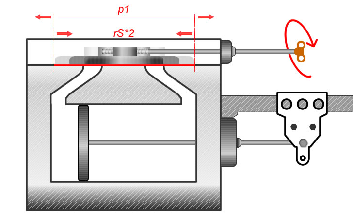
Die Gegenkurbel oder kurz Kurbel sitzt außen auf dem Treibzapfen des Treibrades. Sie erfüllt dabei die Aufgabe den Weg bzw. die Strecke, den der Schieber im Schieberkasten zurücklegt, zu bestimmen, indem sie über die Schwingenstange die Schwinge bewegt. Die Wegstrecke ist dabei immer das doppelte Maß (d=r+2) von der Mitte der Achse zur Mitte der Befestigung der Schwingenstange auf der Kurbel, also rS+2. Befindet sich der Treibzapfen auf 270° bzw. 6 Uhr hat der Schieber einen der beiden Endpunkte der Wegstrecke erreicht, deshalb ist diese Ausgangsstellung ideal zur Veranschaulichung. Befindet sich nun der Treibzapfen an jener Position und misst der Abstand 4mm, so ist der gesamte Schieberweg auf dem Schieberspiegel also 8mm. Das entspricht auch exakt dem Langloch der Schieberschubstange bei Alfried, doch dazu später.
Den Wert rS nennt man auch Kurbelversatz. Das verdeutlicht noch einmal die Funktionalität: Es ist der Versatz des Befestigungspunkts der Kurbelstange zur Achsmitte des Kreises den der Treibzapfen bzw. die Treibstange und nicht zuletzt der Zylinder läuft.Die Länge der Schieberwegs bestimmt wie lange der jeweilige Dampfkanal geöffnet ist. Dafür ist es natürlich wichtig, dass der Schieberweg auch wirklich zentriert auf dem Schieberspiegel liegt. Hier kommt das Gewinde der Schieberstange ins Spiel. Mit ihr wird die Position des Schieberwegs auf dem Schieberspiegel ausgerichtet und auf die Spiegelmitte zentriert, wenn sich die Kurbel auf 0 sowie 180° befindet.
Zusammenfassend:
- Der Winkel der Kurbel auf dem Treibzapfen bestimmt die Strecke die der Schieber zurücklegt.
- Über das Gewinde der Schieberstange wird bestimmt wo auf dem Schieberspiegel die Strecke zurückgelegt wird.
Wie im Schaubild dargestellt kann man die Position p1 des Schieberweg rS*2 durch Drehen der Schieberstange nach vorne oder hinten auf dem Schieberspiegel verschieben. Da die Schieberstange durch die Schieberschubstange über die Schwinge eine feste Position hat, schiebt oder zieht man den Schieber durch drehen der Schieberstange über das Gewinde vor oder zurück.
Steuerung an Reppingen Echtdampfloks einstellen
Nahezu jede Echtdampflok von Reppingen verfügt über die selbe Konstruktion, weshalb die Einstellung nicht nur für Alfried gilt, sondern auch für viele weitere aus dem Programm. Man liest hier und da alle möglichen Wege die Kurbel einzustellen mit teils komplizierten Rechnungen – die alle für sich natürlich auch ans Ziel kommen. Aber es geht noch einfacher. Das Langloch in der Schieberschubstange macht die Einstellung bei Reppingen Maschinen wirklich simpel was den Winkel angeht, in dem die Kurbel auf dem Treibzapfen montiert werden muss, denn das Langloch limitiert den maximalen Schieberweg bereits von sich aus. Ein Detailblick auf die Kulisse des Artikelbildes verdeutlicht das Verfahren sehr gut:
Um die Kurbel einzustellen bin ich folgendermaßen vorgegangen:
- Steuerung voll auslegen in Vorwärtsfahrt (Schieberschubstange befindet sich am unteren Punkt der Schwinge)
- Treibrad drehen dass sich der Treibzapfen auf 270° bzw. 6 Uhr befindet (für’s Foto knapp verfehlt)
- Kurbel auf den Treibzapfen aufsetzen und Kurbelstange montieren
- Kurbel auf dem Treibzapfen so weit nach außen drehen bis die Schraube im Langloch am vordersten Punkt angekommen ist (aber nicht anschlägt). Die Schwinge wird dabei gleichzeitig um den Maximalwert nach hinten gezogen
- Kurbel fixieren
Auf dem Bild ist das fertig eingestellt exakt dargestellt. Die Schieberschubstange sowie die Kurbelstange bilden praktisch eine Gerade und die Schraube in der Schieberschubstange ist am vordersten Punkt. Wie man sehen kann befindet sich auf die Aufnahme für die Kurbelstange in Höhe der Achsmitte und somit am weit entferntesten Punkt den die Kurbel annimmt.
Dreht man nun das Treibrad weiter, sollte, wenn sich der Treibzapfen auf 90° befindet, die Schraube im Langloch genau auf der anderen Seite am hintersten Punkt angekommen sein. Das war es auch schon für die erste Seite. Auf der anderen Seite der Lok wird natürlich genauso verfahren.
Die maximale Ausnutzung des möglichen Schieberwegs hat den entscheidenden Vorteil dass die Steuerung viel sensibler wird und man besser mit kleinerer Auslegung der Steuerung hantieren kann. Je kleiner der Schieberweg schon bei voller Auslegung der Steuerung ist, umso kleiner wird der Schieberweg sonst natürlich auch wenn man die Steuerung eben nicht voll auslegt. Ich sehe immer wieder dass bei Echtdampfloks grundsätzlich mit voll ausgelegter Steuerung gefahren wird, dabei spart die „gerade so viel wie nötig“ ausgelegte Steuerung nicht nur Betriebsstoffe, sie ändert auch merklich die Symphonie der Lok. Schlussendlich fuhr auch das Original praktisch nie mit voll ausgelegter Steuerung. Deshalb möchte ich auch im Modell bei voll ausgelegter Steuerung dass die Dampfkanäle satt offen sind und ich sensibler heruntersteuern kann.Einstellen der Position des Schieberwegs
Nachdem nun der maximale Weg bestimmt ist geht es daran diesen Weg nun optimal auf den Schieberspiegel zu legen. Auch das ist eine simple Angelegenheit, wenn man die Mechanik hinter der Steuerung erst einmal verstanden hat. Da in logischer Reihenfolge bereits alle anderen Punkte bestimmt sind fällt die Einstellung des Schieberwegs mittig auf dem Schieberspiegel nicht mehr schwer.
Zur Einstellung dreht man nun einfach die Schieberstange durch das Gewinde am Schieber soweit hinein oder heraus, dass bei einer Radumdrehung der Schieber auf beide Seiten gleichweit aufmacht / den Dampfkanal freigibt. Da alle anderen Kenngrößen bereits bestimmt sind ist der Schieber dann automatisch bei 0° sowie bei 180° des Treibzapfens in der Mitte des Schieberspiegels und mittig zwischen den Dampfkanälen im Zylinder.
Folgende Bedingungen müssen nun erfüllt sein, Ausgangspunkt bildet erneut der Treibzapfen:
- Treibzapfen auf 0° (Kolbentotpunkt hinten) = Dampfkanäle geschlossen, hinterer Dampfkanal wird bei weiterer Bewegung (>0° – 90°) vom Schieber geöffnet
- Treibzapfen auf 90° = hinterer Dampfkanal voll geöffnet (Schiebertotpunkt vorne)
- Treibzapfen auf 180° (Kolbentotpunkt vorne) = Dampfkanäle geschlossen, voderer Dampfkanal wird bei weiterer Bewegung (>180° <270°) vom Schieber geöffnet
- Treibzapfen auf 270° = vorderer Dampfkanal voll geöffnet (Schiebertotpunkt hinten)
Fahrwerk unter Realbedingungen testen
Sind alle Bedingungen erfüllt kann das Fahrwerk nun getestet werden. Propagiert wird immer dies mit Druckluft zu tun. Sogar einzelne zu erwerbende Kolben werden damit beworben dass sie auch sehr gut unter Druckluft funktionieren. Druckluft ist aber kein Dampf und so habe ich aus der Not eine Tugend gemacht. Meine Zylinder sehen grundsätzlich keine Druckluft, was einfach an Ermangelung eines geeigneten Kompressors liegt. Da ich sonst noch immer keine sinnvolle Anwendung dafür hätte, verzichte ich auch weiter und setze, nachdem ich die stationäre Dampfmaschine als Frischdampflieferant aus Platzgründen erstmal eingemottet habe, auf die handelsübliche Dampfente.
Eine Dampfente liefert zwischen 2-3,5 bar Dampf. Satten Nassdampf zwar, aber ausreichend für einen Fahrwerkstest. Dafür habe ich den Messingkegel der Spitze eines Aufsatzes für die Dampfente heraus geschlagen, das Loch mit 4,2mm aufgebohrt und ein 5mm x 0,5 Gewinde herein geschnitten. In das Gewinde kommt nun noch ein Dampfnippel mit Loctite endfest (270) und fertig ist die schnell und schmutzige Dampfstation.
Dampfenten gibt es in jedem Haushalts-Elektroladen. Für vergleichsweise (vgl. Kompressor) kleines Geld bekommt man sie natürlich auch bei amazon.
Sicher, Aussagen wie „läuft schon bei 0,x bar an“ sind mit einer Dampfente nicht unbedingt möglich. Wer mag kann natürlich noch ein T-Stück zwischensetzen um den Dampfdruck zu haben – aber wozu die Kasperei? Wenn man die Maschine ordentlich aufgebaut hat kann man sich der Leichtgängigkeit der Steuerung auch so sicher sein und nach der Einlaufzeit wird sie schon ihre Arbeit verrichten. Spätestens dann hat man ja auch das Manometer auf der Maschine. Und zählen wird es ohnehin erst wirklich, wenn Last am Haken hängt und die Steigung bewältigt werden will.






2 Kommentare
| »
Hallo Schotterkind, vielen herzlichen Dank für die Beschreibung zur Einstellung der Heusinger Steuerung. Das hat mir sehr geholfen, mit Deiner Hilfe habe ich es nun hinbekommen.
Liebe Grüße
Ralf
Hallo Ralf
bestens – und danke für die Rückmeldung. Dann scheint das ja doch einigermaßen verständlich zu sein!
Schöne Grüße aus dem Bergischen
Armin